文件大小:
软件介绍
自来水收费管理系统主要是针对水表开户和水费收缴等管理的系统,用于预约管理、查看现场、建立开户档案、抄表管理、水费生成、预存水费、收费管理、合单收费、注销报停等日常管理,系统支持后台工作人员窗口操作以及用户网上自主交费,提供定制开发软件功能,可以根据用户的需求来针对性定制开发软件。
软件功能
预约管理
业主可以提前进行预约登记开户人的信息,方便自来水公司提前进行供水工作安排,可以登记预约人姓名、手机、区域、地址、用水类型等。
查看现场
工作人员查看现场后并登记施工价格、施工时间、施工难度、施工具体位置等。
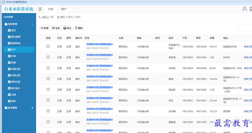
开户管理
窗口工作人员针对业主进行开户操作,登记开户区域、用水类型、表类型、合同、户号、表号、地址、姓名、证件等。
抄表管理
工作人员按区域进行批量抄表或者单户抄表,抄表时间及方数由系统自动生成计算,抄表内容为位置、开始年月、结束年月、上期指数、本期指数、抄表情况、抄表人等。
收费管理
根据户号进行筛选收费,收费分为单张账单收费或合并账单收费,收费内容包含交费方式、滞纳金、合计应收、上期余额、本期实收、本次余额等。
基本配置
配置系统的基本信息如:滞纳金计费方式、基本水价计费方式、水表类型、用水类型及价格梯度、工作人员管理、区域地理管理。
提供远程演示软件和语音解说,提供软件定制,可以根据用户的需求来针对性定制开发软件。

版权声明:
1 本站所有资源(含游戏)均是软件作者、开发商投稿,任何涉及商业盈利目的均不得使用,否则产生的一切后果将由您自己承担!
2 本站将不对任何资源负法律责任,所有资源请在下载后24小时内删除。
3 若有关在线投稿、无法下载等问题,请与本站客服人员联系。
4 如侵犯了您的版权、商标等,请立刻联系我们并具体说明情况后,本站将尽快处理删除,联系QQ:2499894784
湘公网安备:43011102000856号 

点击加载更多评论>>